Page 11 - Volver a colocar la cubierta del terminal de I/O; esté completamente fijada a la parte trasera de la pantalla.; être orientés vers le bas de l’écran afin de préserver; PRECAUCIÓN
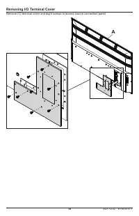
44 2021-12-22 #:180-9151-1 Volver a colocar la cubierta del terminal de I/O 1. Pase los cables por la parte inferior de la cavidad del terminal de I/O de un lado a otro de la junta de gomaespuma. Todos los cables tienen que salir hacia la parte inferior de la pantalla para que queden sellados cuando...
Page 18 - Source d’alimentation; INSTALLATION DU SYSTÈME ET EXIGENCES EN MATIÈRE; Code de l’électricité; Remarque à l’usage de l’installateur du système d’affichage
67 2021-12-22 #:180-9151-1 Source d’alimentation L’écran doit être raccordé à une prise dotée d’une connexion à la terre de protection.La prise sur secteur est utilisée comme dispositif de sectionnement et doit demeurer facilement accessible.L’installation électrique doit se faire en conformité aux ...
Page 19 - effectuant une ou plusieurs des corrections suivantes:
68 2021-12-22 #:180-9151-1 Renseignements Pertinents Inscrire ici le modèle et le numéro de série l'appareil pour consultation future. Conserver ce manuel de l’utilisateur dans un endroit facile d'accès au cas où une réparation serait nécessaire. Remarque: le numéro de série de l’écran se trouve sur...
Page 20 - Lire les instructions avant d'utiliser le matériel; câbles en tirant sur la fiche et non sur le cordon.; AVERTISSEMENT
69 2021-12-22 #:180-9151-1 Lire les instructions avant d'utiliser le matériel Nous vous remercions d’avoir fait l’acquisition de notre produit. Avant utilisation, veuillez lire attentivement ce manuel de l’utilisateur et suivre les instructions pour assurer un fonctionnement en toute sécurité. Veuil...
Page 21 - manipuler l’appareil avec soin.
70 2021-12-22 #:180-9151-1 AVERTISSEMENT • Ne jamais appliquer de pression sur l’extérieur de l’écran ACL.• En cas de cassure du moniteur ou de la vitre, éviter d’entrer en contact avec le cristal liquide et manipuler l’appareil avec soin. • Ne pas grimper sur le produit.• Ne pas installer à moins d...
Page 22 - Table des matières
71 2021-12-22 #:180-9151-1 Installation du système et exigences en matière d’électricité ...............................................................67 Code de l’électricité ......................................................................................................................67 So...
Page 26 - signal WiFi et améliore la connectivité réseau de la Smart TV.; Connecteur; numérique à un amplificateur.
75 2021-12-22 #:180-9151-1 Cordons de Connexion Technologie freePath™ Le couvercle de la trappe E/S doté de la freePath Technology™ permet une meilleure pénétration du signal WiFi et améliore la connectivité réseau de la Smart TV. Connecter les appareils sources à la borne d’entrée correspondante. E...
Page 27 - Replacer le couvercle du logement des I/O; dépasse pas les limites fixées par le fabricant.
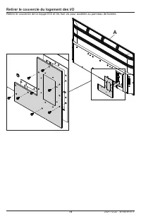
76 2021-12-22 #:180-9151-1 Replacer le couvercle du logement des I/O 1. Faites passer les câbles par le fond du logement des bornes des I/O, par-dessus le joint en mousse. Tous les câbles doivent ressortir vers le bas de l’écran pour en garantir l’étanchéité lorsque le couvercle du logement des I/O ...
Page 29 - Quatre M8 screws; Taille d’affichage; Préparation de l’écran pour le montage; obstrué après le montage de l’écran.
78 2021-12-22 #:180-9151-1 B D Vis de montage requises Quatre M8 screws (17.4mm long) Taille d’affichage A B C D E F 55" 11.81" (300mm) 7.87" (200mm) 18.65" (474mm) 4.61" (117mm) 1.61" (41mm) 3.11" (79mm) 65" 11.81" (300mm) 7.87" (200mm) 22.89" (582mm) 5.4...
Page 30 - Branchement à la source d’alimentation; Branchement du cordon d’alimentation à la prise DDFT.
79 2021-12-22 #:180-9151-1 Préparation de l’écran pour le montage Taille d’affichage A B C D E 55" 49.09" (1247mm) 28.54" (725mm) 47.69" (1211mm) 26.85" (682mm) 54.64" (1388mm) 65" 57.59" (1463mm) 33.31" (846mm) 56.24" (1428mm) 31.62" (803mm) 64.53" (1...
Page 32 - Mise sous tension/hors tension de l’écran; Pointez la télécommande vers le capteur IR situé; MODE D’EMPLOI; Mode Menu; Tableau de bord
81 2021-12-22 #:180-9151-1 PO WER TV TV/ SPK SPK 1 3 2 4 6 5 7 • 9 LAST 8 0 OK AUX1 AUX2 MUT E VOL ME NU GUID E CH INFO INP UT EX IT Mise sous tension/hors tension de l’écran Allumez l’écran à l’aide de la télécommande ou du bouton d’alimentation situé sur le côté. L’écran s’allumera mais l’image pe...
Page 33 - Boutons de la Télécommande; Boutons
82 2021-12-22 #:180-9151-1 Boutons de la Télécommande Boutons Description Alimentation Allumer / éteindre le téléviseur. STB Power Permet d’allumer ou d’éteindre le boîtier décodeur (STB) lorsque ce dernier est ajouté à la télécommande universelle du téléviseur. Search Activer la reconnaissance voca...
Page 34 - Premiers pas avec webOS TV; Programmation télévisée en direct / Configuration de l’antenne:; connexion active à l’internet.; FONCTIONNEMENT DU MENU; programmes que vous captez.
83 2021-12-22 #:180-9151-1 Premiers pas avec webOS TV Programmation télévisée en direct / Configuration de l’antenne: 1. Connectez l’antenne au téléviseur. Vous pouvez également connecter un périphérique capable de recevoir des émissions, par exemple un boîtier décodeur, au lieu d’une antenne. Conne...
Page 35 - Connexion au Réseau; Instructions pour la configuration du réseau:; est utilisée, mais elles sont moins probables.
84 2021-12-22 #:180-9151-1 FONCTIONNEMENT DU MENU Connexion au Réseau : Les paramètres de réseau peuvent être appliqués via le réseau Wi-Fi. 1. Allumez le routeur connecté à l’internet.2. Appuyez sur la touche « Paramètres » de la télécommande. 3. Sélectionnez Paramètres de connexion > Connexion ...
Page 36 - Fonctionnement du téléviseur; Comment connecter la télécommande Magic Remote Control:; fournie avec l’équipement.; Jumelage de la Magic Remote Control:; jumelage s’affichera sur l’écran du téléviseur.; Réenregistrez la Magic Remote Control:; commande fonctionne alors comme une télécommande classique.
85 2021-12-22 #:180-9151-1 FONCTIONNEMENT DU MENU Fonctionnement du téléviseur Comment connecter la télécommande Magic Remote Control: Plus d’informations sur la télécommande Magic Remote Control. Pour sélectionner les fonctions souhaitées, il suffit de déplacer le curseur sur l’écran du téléviseur ...
Page 37 - Utilisation des Fonctions de la Télévision par la Voix; fonctions du téléviseur.; compatible avec tous les modèles.
86 2021-12-22 #:180-9151-1 FONCTIONNEMENT DU MENU Utilisation des Fonctions de la Télévision par la Voix La reconnaissance vocale permet aussi d’accéder rapidement et facilement à diverses fonctions du téléviseur. 1. Maintenez enfoncée la touche de la télécommande et énoncez la fonction souhaitée ou...
Page 38 - Fonction texte; Utilisation du langage textuel:; Sélectionnez le bouton « Micro » du clavier virtuel.; Précautions à prendre lors de l’utilisation du langage textuel:; Vérifiez la connexion réseau avant de lancer la fonction Texte.
87 2021-12-22 #:180-9151-1 FONCTIONNEMENT DU MENU Fonction texte Utilisation du langage textuel: • La reconnaissance vocale permet aussi de saisir du texte dans les champs de recherche. • Sélectionnez le bouton « Micro » sur le clavier affiché à l’écran pour passer en mode de saisie vocale. Remarque...
Page 39 - Lancer un programme avec Quick Access; activer la saisie correspondant à la touche.; Paramétrage de Quick Access:; pas encore été programmé dans le mode Modifier les accès rapides.; Afficher et modifier les accès rapides:; L’écran Modifier les accès rapides apparaît.
88 2021-12-22 #:180-9151-1 FONCTIONNEMENT DU MENU Lancer un programme avec Quick Access • Appuyez sur un chiffre de la télécommande et maintenez-le enfoncé pour ouvrir l’application ou activer la saisie correspondant à la touche. Paramétrage de Quick Access: 1. Lancez l’application ou sélectionnez l...
Page 40 - Télévision en Direct; Utilisation des fonctions d’enregistrement:; La durée de la vidéo peut être définie avant de lancer la fonction.
89 2021-12-22 #:180-9151-1 FONCTIONNEMENT DU MENU Télévision en Direct Utilisation des fonctions d’enregistrement: 1. Connectez un disque dur ou une clé USB à un port USB. Il est recommandé d’enregistrer sur un disque dur USB.2. Pendant le déroulement en direct de l’émission, appuyez sur le bouton (...
Page 41 - Lecture d’émissions de télévision enregistrées; le type d’affichage.
90 2021-12-22 #:180-9151-1 FONCTIONNEMENT DU MENU Lecture d’émissions de télévision enregistrées Gestion des vidéos: Les vidéos stockées sur les périphériques de stockage peuvent être affichées et visualisées avec l’application Enregistrements.1. Appuyez sur la touche « List » de la télécommande et ...
Page 42 - Configurations des fonctions complémentaires:; Retourner aux options d’enregistrement.
91 2021-12-22 #:180-9151-1 FONCTIONNEMENT DU MENU Lecture d’émissions de télévision enregistrées Configurations des fonctions complémentaires: 1. Appuyez sur le bouton (OK) pendant la lecture de la vidéo souhaitée.2. Sélectionnez «Tous les paramètres» sur l’écran. 1. Retourner aux options d’enregist...
Page 43 - Connexion de périphériques; Utilisation du Tableau de bord domotique:; Guide de l’utilisateur pour plus d’informations.
92 2021-12-22 #:180-9151-1 FONCTIONNEMENT DU MENU Connexion de périphériques Utilisation du Tableau de bord domotique: • Vous pouvez sélectionner ou contrôler un appareil (téléphone mobile, périphérique externe, appareils de domotique IdO, etc.) connecté au téléviseur. • Appuyez sur le bouton (HOME)...
Page 44 - Connexion d’un appareil domotique connecté IdO; supprimer que certains appareils.
93 2021-12-22 #:180-9151-1 FONCTIONNEMENT DU MENU Connexion d’un appareil domotique connecté IdO Vous pouvez contrôler l’état des appareils domotiques connectés IdO. 1. Installez l’application ThinQ sur votre smartphone.2. Connectez-vous à votre compte ThinQ et programmez votre appareil ThinQ.3. App...
Page 45 - Connexion des appareils intelligents; Connecter votre appareil intelligent à un téléviseur avec ThinQ:; modification sans préavis.; Contrôler votre téléviseur avec ThinQ:
94 2021-12-22 #:180-9151-1 FONCTIONNEMENT DU MENU Connexion des appareils intelligents Connecter le téléviseur à un appareil intelligent vous permet d’exécuter différentes fonctions. Connecter votre appareil intelligent à un téléviseur avec ThinQ: 1. Téléchargez ThinQ dans l’app store de votre appar...
Page 46 - qui pourrait endommager votre écran de façon permanente.; Directives relatives à la fin de vie; à la réglementation locale.; ENTRETIEN
95 2021-12-22 #:180-9151-1 Entretien de l’écran Évitez de frotter ou de frapper l’écran avec un objet dur, car cela pourrait rayer, marquer ou même endommager l’écran de façon permanente. Assurez-vous que l’écran est installé dans un endroit où il sera à l’abri des abrasifs et des débris volants, ce...