Page 2 - TABLE DES MATIÈRES; EMPLACEMENT DES AUTOCOLLANTS D’AVERTISSEMENT
2 TABLE DES MATIÈRES EMPLACEMENT DES AUTOCOLLANTS D’AVERTISSEMENT. . . . . . . . . . . . . . . . . . . . . . . . . . . . . . . . . . . . . . . . 2 PRÉCAUTIONS IMPORTANTES . . . . . . . . . . . . . . . . . . . . . . . . . . . . . . . . . . . . . . . . . . . . . . . . . . . . . . . . . . . . . . . 3 A...
Page 3 - PRÉCAUTIONS IMPORTANTES
3 1. Le propriétaire est responsable de s’as- surer que tous les utilisateurs de ce tapis d’inclinaison sont informés de manière satis- faisante de tous les avertissements et toutes les précautions. 2. Consultez votre médecin avant de commen- cer tout programme d’exercice physique. Ceci est particul...
Page 4 - CONSERVEZ CES INSTRUCTIONS
4 17. Lisez, comprenez et testez la procédure d’arrêt d’urgence avant d’utiliser le tapis d’inclinaison. (Référez-vous à COMMENT ALLUMER L’APPAREIL à la page 14). Portez toujours la pince quand vous utilisez le tapis d’inclinaison. 18. Montez toujours sur les repose-pieds quand vous mettez la courro...
Page 5 - AVANT DE COMMENCER
5 Merci d’avoir choisi le tapis d’inclinaison révolution- naire NORDICTRACK ® COMMERCIAL X22I. Le tapis d’Inclinaison COMMERCIAL X22I offre un choix de fonctionnalités conçues pour rendre vos exercices chez vous plus efficaces et plus agréables. Il est important de lire attentivement ce manuel avant...
Page 6 - TABLEAU D’IDENTIFICATION DES PIÈCES
6 TABLEAU D’IDENTIFICATION DES PIÈCES Utilisez les illustrations ci-dessous pour identifier les petites pièces utilisées pour l’assemblage. Le nombre entre parenthèses sous chaque illustration est le numéro-clé de la pièce dans la LISTE DES PIÈCES à la fin de ce manuel. Le nombre après le numéro-clé...
Page 7 - ASSEMBLAGE
7 ASSEMBLAGE • L’assemblage nécessite deux personnes. • Placez toutes les pièces sur une surface dégagée et retirez tout le matériel d’emballage. Ne jetez pas le matériel d’emballage avant d’avoir terminé toutes les étapes de l’assemblage. • Après le transport, il est possible qu’une subs- tance gra...
Page 12 - COMMENT UTILISER LE TAPIS D’INCLINAISON
12 COMMENT UTILISER LE TAPIS D’INCLINAISON COMMENT BRANCHER LE CORDON D’ALIMENTATION Ce produit doit être relié à la terre. En cas de panne ou d’un mauvais fonctionnement, la mise à la terre offre une voie de moindre résistance au courant électrique pour réduire les risques de chocs élec- triques. L...
Page 23 - COMMENT DÉPLACER LE TAPIS D’INCLINAISON
23 Avant de déplacer le tapis d’inclinaison, insérez la clé dans la console (A), réglez l’inclinaison jusqu’au niveau d’inclinaison maximal, retirez la clé, puis débranchez le cordon d’alimentation. À cause de la taille et du poids du tapis d’inclinai- son, il faut être deux ou trois personnes pour ...
Page 24 - ENTRETIEN ET RÉSOLUTION DES PROBLÈMES
24 ENTRETIEN Un entretien régulier est important pour obtenir des performances optimales et limiter l’usure. Vérifiez et serrez correctement toutes les pièces chaque fois que vous utilisez le tapis d’inclinaison. Remplacez immé- diatement toute pièce usée. N’utilisez que des pièces fournies par le f...
Page 28 - CONSEILS POUR LES EXERCICES
28 CONSEILS POUR LES EXERCICES Les conseils suivants vous aideront à planifier votre pro- gramme d’exercice. Pour plus de détails sur l’exercice, procurez-vous un livre réputé sur le sujet ou consultez votre médecin. Gardez en tête qu’une alimentation équi- librée et un repos adéquat sont essentiels...
Page 29 - LISTE DES PIÈCES
29 LISTE DES PIÈCES N° du Modèle NTL29221-INT.0 R0421A Nº Qté Description Nº Qté Description 1 4 Vis de 3/8" x 5 1/2" 2 8 Vis #8 x 1 1/4" 3 16 Rondelle Étoilée de 3/8" 4 2 Vis à Tête Cylindrique #8 x 3/4" 5 54 Vis #8 x 3/4" 6 4 Vis du Guide de la Courroie #8 7 10 Vis #8 x 1/2...
Page 31 - SCHÉMA DÉTAILLÉ A
31 36 39 37 38 35 42 38 41 30 46 44 40 43 31 32 33 29 29 5 7 10 10 5 5 5 16 16 16 16 16 16 5 16 5 5 5 11 6 11 10 10 10 10 34 11 11 6 5 5 5 5 5 5 11 2 SCHÉMA DÉTAILLÉ A N° du Modèle NTL29221-INT.0 R0421A
Page 32 - SCHÉMA DÉTAILLÉ B
32 53 54 27 25 27 25 53 49 50 51 49 27 53 25 7 7 7 27 25 4 4 2 2 5 5 55 49 47 66 53 48 50 51 49 54 63 64 49 50 51 49 49 50 51 49 10 28 10 17 13 8 13 8 13 8 56 60 58 5 14 59 15 19 19 59 59 17 23 17 17 23 13 8 17 102 102 17 23 61 62 105 104 103 108 5 107 17 17 111 11 0 20 109 SCHÉMA DÉTAILLÉ B N° du M...
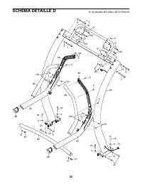
Page 34 - SCHÉMA DÉTAILLÉ D
34 1 1 3 84 17 1 5 5 1 3 3 5 5 57 57 65 65 57 65 57 65 57 3 22 18 3 22 3 3 18 75 18 22 3 3 18 3 100 3 89 90 99 98 2 97 82 2 2 2 2 86 86 100 3 101 101 57 57 87 85 87 83 SCHÉMA DÉTAILLÉ D N° du Modèle NTL29221-INT.0 R0421A
Page 36 - COMMANDER DES PIÈCES DE RECHANGE; INFORMATIONS SUR LE RECYCLAGE
N° de la Pièce 425860 R0421A Imprimé en Chine © 2021 ICON Health & Fitness, Inc. Pour commander des pièces de rechange, veuillez vous référer à la couverture avant de ce manuel. Pour une assistance plus efficace, préparez les informations suivantes avant de nous contacter : • le numéro du modèle...