manuelsdutilisation.com
Toutes les marques
Toutes les catégories
Recherche
Manuels
DuraHeat
Chauffages
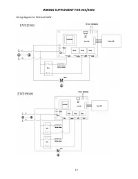
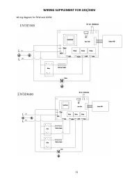
EWH9600
DuraHeat EWH9600 - Manuels
Chauffage DuraHeat EWH9600 - Manuel d'utilisation en ligne au format PDF.
Manuels:
Manuel d'utilisation
Manuel d'utilisation DuraHeat EWH9600
1
2
3
4
5
6
7
8
9
10
11
12
13
14
15
16
17
18