Dyna-Glo KFA650DGD - Manuel d'utilisation

Dyna-Glo KFA650DGD

Chauffage Dyna-Glo KFA650DGD - Manuel d'utilisation, à lire gratuitement en ligne au format PDF. Nous espérons que cela vous aidera à résoudre toutes les questions que vous pourriez avoir. Si vous avez encore des questions, contactez-nous via le formulaire de contact.

1 Page 1
2 Page 2
3 Page 3
4 Page 4
5 Page 5
6 Page 6
7 Page 7
8 Page 8
9 Page 9
10 Page 10
11 Page 11
12 Page 12
13 Page 13
14 Page 14
15 Page 15
16 Page 16
17 Page 17
18 Page 18
19 Page 19
20 Page 20
21 Page 21
22 Page 22
23 Page 23
24 Page 24
25 Page 25
26 Page 26
27 Page 27
28 Page 28
29 Page 29
30 Page 30
31 Page 31
32 Page 32
33 Page 33
Page: / 33

Table des matières:

  • Page 3 – du lundi au vendredi de 8 h 30 à 16 h 30, heure normale du Centre,; PRODUITS L’INTÉRIEUR; APPAREILS DE CHAUFFAGE PAR; “GUIDE D’UTILISATION; très attentivement ce GUIDE D’UTILISATION. Ce GUIDE D’UTILISATION
  • Page 4 – RISQUE DE POLLUTION DE L’AIR INTÉRIEUR!; • N’utilisez JAMAIS; Cet appareil est très chaud lorsqu’il; NE LAISSEZ JAMAIS L’APPAREIL DE; AVERTISSEMENT:; Ce produit et le combustible utilisé pour le faire fonctionner
  • Page 5 – TABLE DES MATIÈRES DU GUIDE D’UTILISATION; ARTICLE; CHOIX DE COMBUSTIBLES
  • Page 6 – Figure 2. Identification des composants; Trousse de visserie n° de pièce:; OUTILS NÉCESSAIRES; DÉBALLAGE ET ASSEMBLAGE
  • Page 7 – Figure 3. Ensemble roues et poignée; dans un endroit bien ventilé, hors des pièces d’habitation.; DÉSIGNÉ PAR LE MOT « KÉROSÈNE ». LE KÉROSÈNE NE DOIT JAMAIS ÊTRE STOCKÉ; En effet, les contenant rouges sont associés à l’essence; CHOIX DE COMBUSTIBLES
  • Page 8 – APERÇU DES APPAREILS DE CHAUFFAGE; Système d’alimentation en combustible :; Température d’extinction interne; ALIMENTATION DE VOTRE APPAREIL DE CHAUFFAGE
  • Page 9 – Exigences de calibre de fil du cordon prolongateur :; lorsque la température descend en dessous de 0
  • Page 11 – ENTREPOSAGE À LONG TERME DU RADIATEUR; IMPORTANT
  • Page 12 – Figure 6. Dépose de l’enveloppe supérieure; - Enlever les vis de l'extérieur du cône; Enveloppe supérieure
  • Page 13 – Figure 8. Bougie d’allumage; NETTOYER LA BUSE SELON LE BESOIN.
  • Page 16 – Utiliser uniquement des pièces de rechange d’origine.; Figure 15. Réglage de la pression de la pompe
  • Page 17 – PROCÉDURE DE REMPLACEMENT DU FUSIBLE; Figure 16. Remplacement du fusible
  • Page 18 – GUIDE DE DÉPISTAGE DES PANNES; PROBLÈME
  • Page 19 – DIAGRAMME DE CÂBLAGE; CARTE DE CIRCUITS IMPRIMES DE LA COMMANDE
  • Page 20 – MODÈLE; Consommation de combustible; CARACTÉRISTIQUES
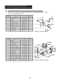
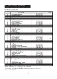
  • Page 22 – LISTE DES PIÈCES
  • Page 25 – Garantie
  • Page 26 – ENREGISTREMENT DE LA GARANTIE; CONSERVEZ CETTE CARTE!
Téléchargement du manuel

¡NUNCA DEJE EL CALENTADOR
DESATENDIDO CUANDO ESTÉ ENCENDIDO!

16

de alimentacion

Enchufe del cordon

Fotocelula

Negro

Negro

120VCA

60Hz

Bujia

50uF/400VCA

Capacitor

Verde

Tierra

Negro

Fusible

20A/250VCA

Negro

Blanco

CN2(AC2)/

CN1(AC1)/

(LED)

Amarillo

Interruptor de

CN5

(control de temp.)

Termostato

Lampara

CN8

Amarillo

funcionamiento

Sensor de

CN6

habitacion

PCI DE CONTROL

Encendedor

Rojo

Marron

Naranja

Negro

Blanco

Rojo

Negro

Blanco

CN3

CN4

Motor de

la bomba

Negro

Negro

Negro

Blanco

Interruptor de

energia

(cortacircuito)

Negro

Negro

CN7

Valvula de

solenoide

Marron

12 DIAGRAMA DE CABLEADO

„Téléchargement du manuel“ signifie que vous devez attendre que le fichier soit complètement chargé avant de pouvoir le lire en ligne. Certains manuels sont très volumineux, et le temps de chargement dépend de la vitesse de votre connexion Internet.

Résumé

Page 3 - du lundi au vendredi de 8 h 30 à 16 h 30, heure normale du Centre,; PRODUITS L’INTÉRIEUR; APPAREILS DE CHAUFFAGE PAR; “GUIDE D’UTILISATION; très attentivement ce GUIDE D’UTILISATION. Ce GUIDE D’UTILISATION

MODELO : KFA650DGD CONSOMMATEUR : conservez ce guide pour pouvoir vous y reporter ultérieurement. Questions, problèmes, pièces manquantes? Avant de revenir chez le détaillant, contactez le service à la clientèle par téléphone en composant le 1-877-447-4768 du lundi au vendredi de 8 h 30 à 16 h 30, h...

Page 4 - RISQUE DE POLLUTION DE L’AIR INTÉRIEUR!; • N’utilisez JAMAIS; Cet appareil est très chaud lorsqu’il; NE LAISSEZ JAMAIS L’APPAREIL DE; AVERTISSEMENT:; Ce produit et le combustible utilisé pour le faire fonctionner

1 DANGER: L’UTILISATION NON APPROPRIÉE DE CET APPAREIL DE CHAUFFAGE PEUT ENTRAÎNER DES BLESSURES GRAVES VOIRE MORTELLES PAR SUITE DE BRÛLURES, D’UN FEU, D’UNE EXPLOSION OU D’UN CHOC ÉLECTRIQUE ET/OU D’UN EMPOISONNEMENT AU MONOXYDE DE CARBONE. AVERTISSEMENTS: 1. RISQUE DE POLLUTION DE L’AIR INTÉRIEUR...

Page 5 - TABLE DES MATIÈRES DU GUIDE D’UTILISATION; ARTICLE; CHOIX DE COMBUSTIBLES

2 Figure 1. MODÈLE KFA650DGD NE LAISSEZ JAMAIS L’APPAREIL DE CHAUFFAGE ALLUMÉ SANS SURVEILLANCE! TABLE DES MATIÈRES DU GUIDE D’UTILISATION 1 2 2 3 4 5 5 6 8 9 5 1 . 1 1 6 1 . 2 1 7 1 . 3 1 8 1 . 4 1 9 1 . 5 1 Protection de ventilateur Cordon d’alimentation Boulon de vidange Sortier d’air chaud Jauge...

Autres modèles de chauffages Dyna-Glo

Tous les chauffages Dyna-Glo